The XFTC300 series load cell excels in precise tension and compression measurement across a range of static and dynamic environments. Its compact and lightweight design enables its application in scenarios where space and weight are critical factors. Equipped with a fully temperature-compensated Wheatstone bridge and high-stability micro-machined silicon strain gages, the XFTC300 ensures reliable and accurate readings even at low force ranges and frequencies. This series is capable of accommodating forces from 0-2N up to 0-2kN, with an option for a high-level output model for ranges between 2N and 2kN, enhancing its versatility. The inclusion of two male threads facilitates straightforward installation in both industrial and OEM applications, while a strain relief spring provides additional durability to the cable output. Key features include high stiffness and excellent linearity of less than 0.5% full scale, making the XFTC300 an ideal choice for precision measurement needs.
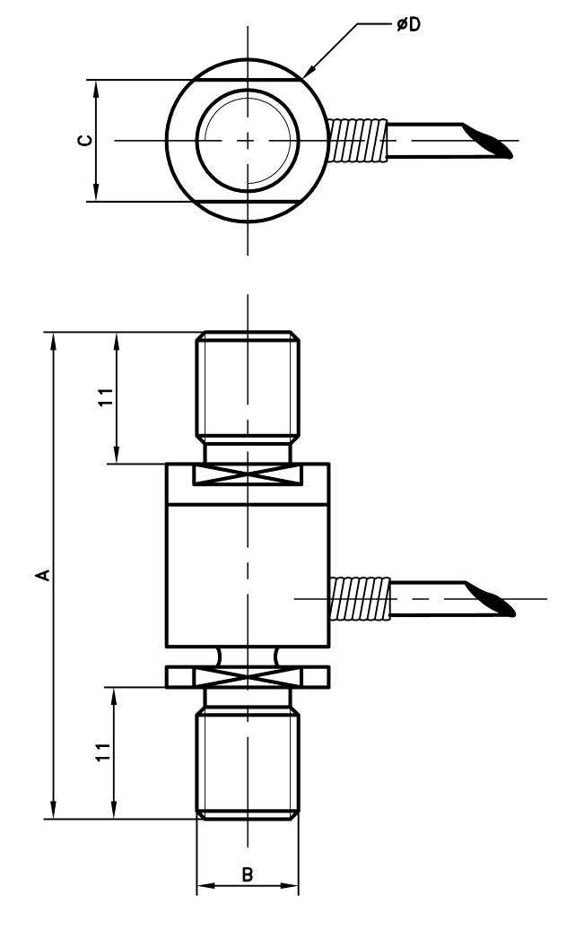
DIMENSIONS & WIRING SCHEMATIC (IN METRIC AND IMPERIAL)

