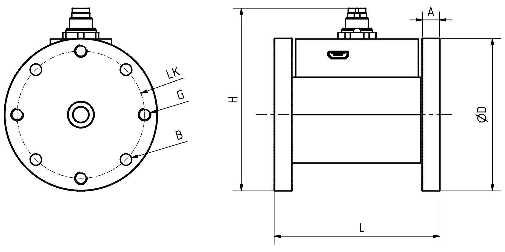
The 8631, high-precision torque sensor is designed for both static and dynamic measurements on non-rotating parts. The 10mm diameter through-hole can be used to feed parts such as cables or Bowden cables through the sensor.
The mounting flanges contain threaded holes and through-holes so that the sensor can be fitted at either end. With no rotating parts, this sensor needs no maintenance when used correctly. The modular design of this strain-gage sensor allows precise configuration for desired applications.
